HAWLE, Vanne à bout lisse/manchon à emboîtement, BAIO, 4510

eau PN 16
Fabricant Hawle
7 de 7
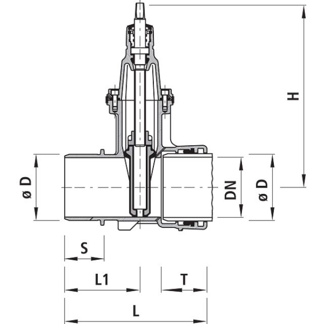
DN
Longueur
Hauteur
D
L1
t