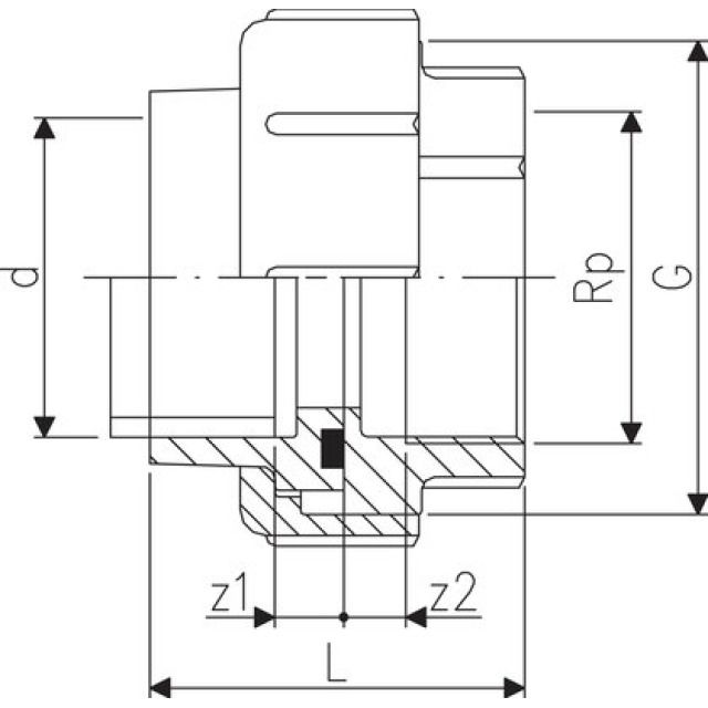
5037, Instaflex, Manchon union intermédiaire manchon - filetage femelle

Inclus joint torique EPDM qualité pour eau potable
Fabricant GF Système Instaflex
7 de 7
d
L
G
Rp
z1
z2