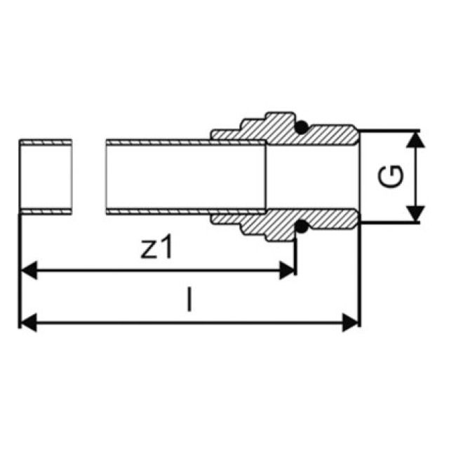
Tube de raccordement Radi

- en tube de cuivre revêtu
- tube de cuivre 15 x 1 mm avec filetage auto-étanche pour le raccordement du radiateur
- convient pour tous les supports de paroi de presse et les disques de paroi de presse avec filetage intérieur Rp½
- le raccordement au bloc de vannes, au radiateur ou au raccord de radiateur est possible par un raccord à compression Cu avec cône Euro
Fabricant Uponor
Trouvé 1
1 de 1