137132461.200.00.1
GIS Connecteur de profilés
Champ d‘application
• Pour confectionner des systèmes porteurs Geberit GIS
• Pour relier sans outils des profilés Geberit GIS à angle droit
Particularités
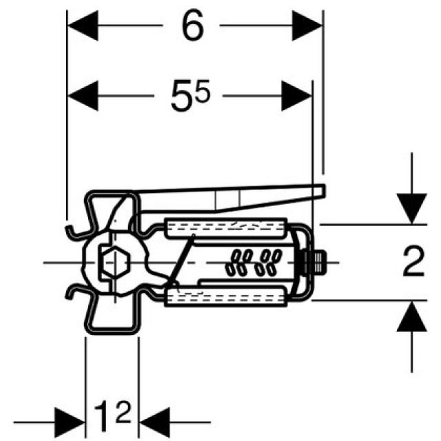
• Profondeur d‘emboîtement maximale marquée
• Etrier de fixation en acier à ressorts, protection anticorrosion
• Longueurs compensables jusqu‘à 1 cm de chaque côté du profilé
• Levier à déclenchement manuel en zinc moulé sous pression
• Fonction de préverrouillage
• Pour confectionner des systèmes porteurs Geberit GIS
• Pour relier sans outils des profilés Geberit GIS à angle droit
Particularités
• Profondeur d‘emboîtement maximale marquée
• Etrier de fixation en acier à ressorts, protection anticorrosion
• Longueurs compensables jusqu‘à 1 cm de chaque côté du profilé
• Levier à déclenchement manuel en zinc moulé sous pression
• Fonction de préverrouillage
Fabricant
Geberit
Système
GIS
Trouvé
1
N° d'article
N° d'article
Fabricant