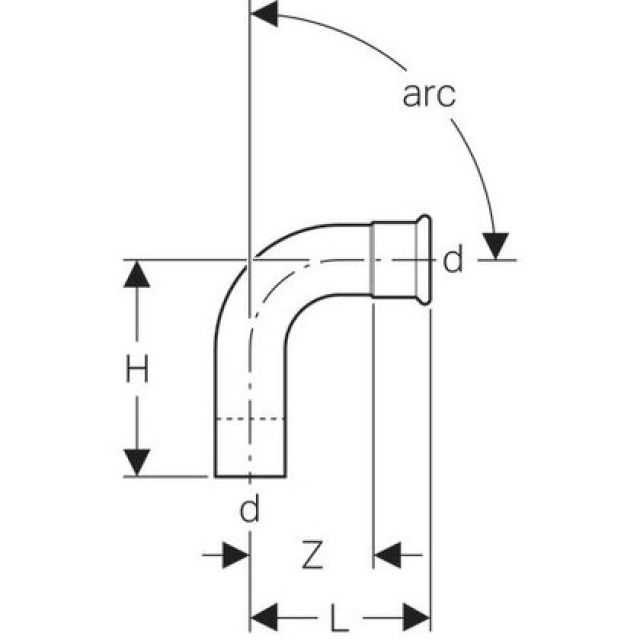
Mapress Coude acier carbone 90° avec extrémité à emboîter

Fabricant Geberit Système Mapress
8 de 8
DN
H
L
Z