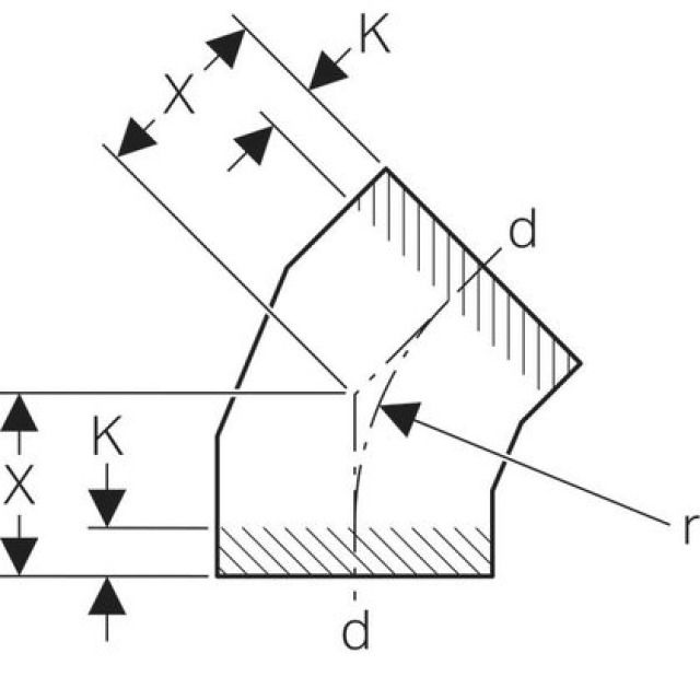
Geberit PE-HD, Coude à segement 45°

Fabricant Geberit Système PE