Geberit PushFit Set de fixation pour mur de doublage

Champ d‘application
• Pour fixer des boîtes de raccordement Geberit PushFit
Particularités
• Zingué

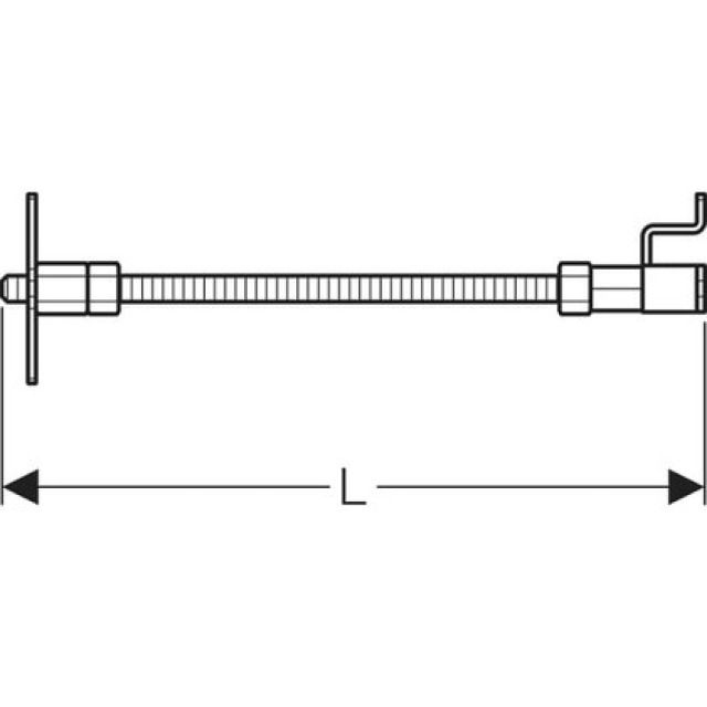
Etendue de la livraison
• Plaque de base
• Tige filetée M10
• Plaque de maintien
• Matériel de fixation
Fabricant Geberit Système Flowfit/Pushfit
Trouvé 1
1 de 1