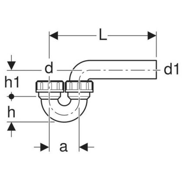
Geberit PE-HD, Siphon en tube coudé pour vidoir, avec raccord presse-étoupe, entrée verticale et sortie horizontale

Fabricant Geberit
Trouvé 1
1 de 1