HAWLE, Filtre, PN 10/16/25/40, 2002

Caractéristiques
Filtre optimisé pour l'écoulement
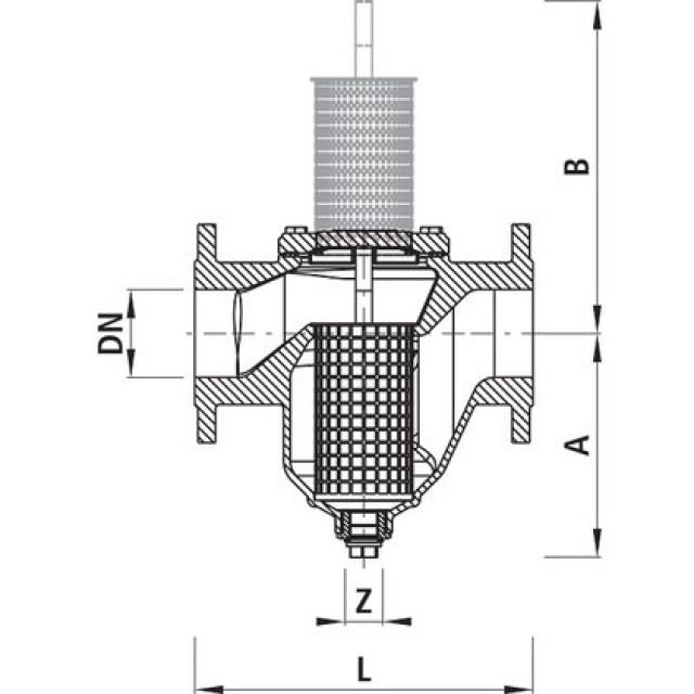
Longueur selon DIN EN 558
Dimensions des brides selon DIN 1092-2
Température du fluide 2 à 40°C
Bouchon de vidange en INOX
Optional: 4x Innengewinde ⅜"
Fabricant Hawle
Trouvé 14
N° d'article
N° d'article
Fabricant
DN
PN
Bar
L
mm
B
mm
A
mm
z
pouce
14 de 14
DN
PN
L
B
A
z