HAWLE Soupape d'aération et de purge 9872

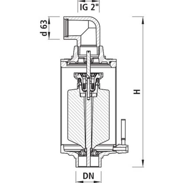
Fonctionnement
L'aérateur automatique à deux étages assure le soufflage de grandes quantités d'air lors du remplissage de la conduite. En tant que purgeur d'air de service, il évacue les petites accumulations d'air pendant le fonctionnement de la conduite (sous pression de la conduite).
Pour l'aération lors de la vidange de la conduite (ou en cas de rupture de la conduite), de l'air est introduit dans le système via la grande section transversale. Cela permet d'éviter une dépression dans le système de conduites.
La technique de la membrane déroulante permet à cette soupape d'aération et de purge de fonctionner en continu et d'assurer une étanchéité parfaite même sans pression.
Le principe d'étanchéité avec la membrane déroulante a en outre un effet d'amortissement des chocs de pression.
Le robinet à bille ¼ » permet la vidange et le contrôle du fonctionnement.
Matériau
Corps : acier inoxydable
Joints de soupape : EPDM
Flotteur et pièces en plastique : PP / POM
Robinet de vidange ¼ » : MS
Grille anti-insectes : INOX 1.4301
Fabricant Hawle
3 de 3
H
DN