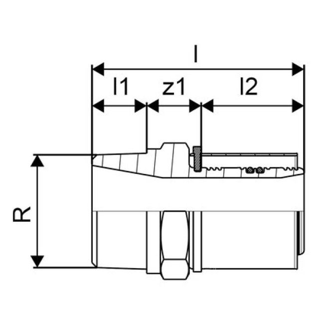
GF Uponor S-Press Raccord de transition avec filetage mâle

Exécution:
• Corps de raccord en laiton, étamé
• Douille de sertissage en acier inoxydable
• Raccord filetage mâle, raccord à sertir
Fabricant GF Système S-Press