GF Uponor S-Press PLUS Übergang auf Kupfer

- Durchflussoptimierter Fitting
- Aus entzinkungsbeständigem Messing, verzinnt
- Mit weich angelötetem Kupferrohr nach EN 1057 (halbhart / R 250)
- Komplett verzinnt
- Achtung: Der übergang auf Kupfer ist nur zum Pressen! Der Einsatzbereich des Uponor Verbundrohres ist zu beachten!
Fabricant GF Système S-Press
7 de 7
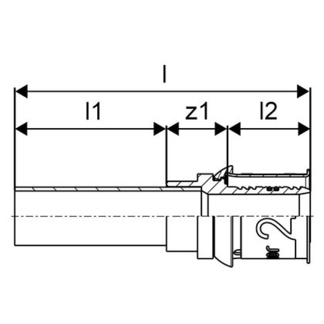
d
d1
l
l1
l2
z1