GF Uponor RS Adaptateur d'espacement

Exécution:
• Matériau laiton, étamé
• Adaptateur d'espacement pour relier des corps de base de même dimension, par exemple pour
créer des changements de direction variables
Fabricant GF Système S-Press
2 de 2
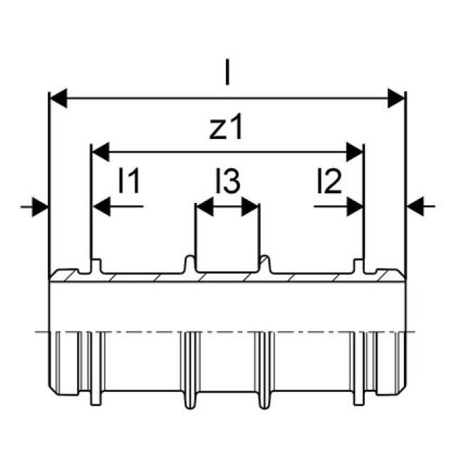
type
l
z1